Connector Housings and Connectors, Repair Information
Note
Contacts in Connector Housing, Repairing
Procedure
- First, open or release if necessary the secondary lock of the connector housing. Refer to → Chapter "Connector Housings, Releasing and Disassembling".
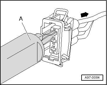
- Release contact (primary lock) using the appropriate release tool. Refer to → Chapter "Connector Housings, Releasing and Disassembling".
- Pull the contact back out of the connector housing -arrow- at the single wire (with the single wire seal if necessary).

- Cut off the old contact (with the single wire seal) from the vehicle-specific wiring harness.
- Take the yellow repair wire with the correct contact out of the Wiring Harness Repair Set -VAS1978B-.
- Free up the wire to be repaired approximately 20 cm on both sides of the repair point.
Caution
Risk of damaging the electrical wires.
Expose wrapped wiring harnesses carefully.
- If necessary, removing the wiring harness wrapping using a knife.

- Slide the new repair wire contact into the corresponding connector housing compartment until it engages.
- If necessary, install the single wire seal on the repair wire. Refer to → Chapter "Single Wire Seals, Installing".

- Shorten the repair wire and the vehicle-specific wiring harness single wire as needed using the Wiring Harness Repair Set - Wire Strippers -VAS1978/3-.
- Remove the insulation from the ends of the repair wire and vehicle-specific single wire and crimp the ends with the crimping wires and a crimp connector. Refer to → Chapter "0.22 mm 2 Wire, Repairing with Individual Crimp Connector" or → Chapter "Repairing a Wire 0.35 mm 2 or Greater with Individual Crimp Connector".

Single Wire Seals, Installing
Procedure
Note
- Put single wire seal -A- onto free end of repair wire.

- Slide the single wire seal -A- onto the repair wire up to the connector housing and then into the housing as far as the stop using the appropriate assembly tool -B-.

- Shorten the repair wire and the vehicle-specific wiring harness single wire as needed using the Wiring Harness Repair Set - Wire Strippers -VAS1978/3-.
- Crimp the stripped ends of repair wire and single wire of vehicle-specific wiring harness using crimping pliers and a crimping pliers. Refer to → Chapter "0.22 mm 2 Wire, Repairing with Individual Crimp Connector" or → Chapter "Repairing a Wire 0.35 mm 2 or Greater with Individual Crimp Connector".

Connector Housing with Insulation Displacement Connections, Repairing
Note

Connector Housings, Releasing and Disassembling
Contact Surface Cleaning Set -VAS6410-
ESD Work Surface -VAS6613-
Impact Member, Removing and Installing
Module Carrier with Air Cushions for Lumbar Support, Removing and Installing