Overview - External Multimedia Devices
External audio sources are:
Front External Audio Source Connection -R199-, UF7
The External Audio Source Connection -R199- is part of the Information Electronics Control Module 1 -J794-.
The interface -2-, 30-Pin Connector -T30b- is located under the front center armrest or in the storage compartment.
Front External Audio Source Connection -R199-, USB charging, AUX IN
The External Audio Source Connection -R199- is part of the Information Electronics Control Module 1 -J794-.

The interface -1- is located under the front center armrest.
The USB port is used to charge USB devices, such as smartphones.
Various devices can be connected to the AUX IN jack. Suitable adapter cables are required. Refer to the Owner's Manual
Front External Audio Source Connection -R199-, USB (quantity: 2), AUX IN
The External Audio Source Connection -R199- is part of the Information Electronics Control Module 1 -J794-.

The interface -1- is located under the front center armrest.
The USB ports are fully connected. Various devices can be connected.
Suitable adapter cables are needed. Refer to the Owner's Manual.
Fault finding is performed via "Guided Fault Finding" on the Vehicle Diagnostic Tester.

External Audio Source Connection Connectors
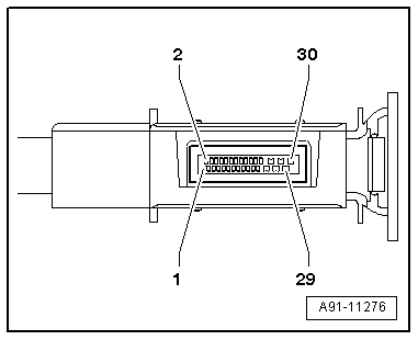
External Audio Source Connection -R199- Connector Assignment, UF7
Note
Unlisted connector terminals are not assigned.
30-Pin Connector - T30b-
All pins are connected to the Information Electronics Control Module 1 -J794-.
1 - Left LF-In
2 - Right LF-In
3 - LF ground
4 - LF-In ground shielding
13 - iPod data
14 - iPod data
16 - iPod recognized
17 - D (+)
18 - D (-)
21 - Detect
22 - Ground
24 - CVBS cable (-)
25 - USB, ground
27 - CVBS cable (+)
28 - USB, +5 V

External Audio Source Connection -R199- Connector Assignment, USB Charging, AUX IN
Note
Unlisted connector terminals are not assigned.
External Audio Source Connection -R199-
1 - 6-Pin Connector -T6cf-

1 - 6-Pin Connector -T6cf-
1 - Terminal 30
2 - Terminal 31
3 - USB, +5 V
4 - Right LF-In
5 - LF ground
6 - Left LF-In

External Audio Source Connection -R199- Connector Assignment, USB (Quantity: 2), AUX IN
Note
Unlisted connector terminals are not assigned.
External Audio Source Connection -R199-
1 - 6-Pin Connector -T6cf-
2 - 5-Pin Connector -T5bp-

1 - 6-Pin Connector -T6cf-
1 - Terminal 30
2 - Terminal 31
3 - USB, +5 V
4 - Right LF-In
5 - LF ground
6 - Left LF-In

2 - 5-Pin Connector -T5bp-
All pins are connected to the Information Electronics Control Module 1 -J794-.
1 - USB 2 D (+)
2 - USB 1 D (-)
3 - USB 2 D (-)
4 - USB 1 D (+)
5 - Ground Shielding

External Audio Source Connection 2 -R231- Connector Assignment
Note
Unlisted connector terminals are not assigned.
30-Pin Connector - T30c-
All pins are connected to the Information Electronics Control Module 2 -J829-.
1 - Left LF-In
2 - Right LF-In
3 - LF ground
4 - LF-In ground shielding
9 - iPod, ACC Power
13 - iPod data
14 - iPod data
16 - iPod recognized
17 - D (+)
18 - D (-)
21 - Detect
22 - Ground
24 - CVBS cable (-)
25 - USB, ground
27 - CVBS cable (+)
28 - USB, +5 V

External Audio Source Connection -R199-, Removing and Installing
External Audio Source Connection -R199-, Removing and Installing, UF7
The External Audio Source Connection -R199--2- is located in the center console storage compartment.
Removing
- Turn off the ignition and all electrical consumers and remove the ignition key.

The External Audio Source Connection -R199--1- is clipped in from behind along with the bracket -2- in the center console storage compartment -3-.
- Remove the center console storage compartment. Refer to → Body Interior; Rep. Gr.68; Center Console; Front Center Console Storage Compartment, Removing and Installing.

- Unclip the External Audio Source Connection -R199--1- with the bracket -2- from the storage compartment -1-.
- Open the bracket -2- on the bottom.
- Unclip the External Audio Source Connection -R199--1- from the bracket -2-.
Installing
- Install in reverse order of removal.

External Audio Source Connection -R199-, Removing and Installing, USB, AUX IN
The External Audio Source Connection -R199--1- is located in the center console storage compartment.
Removing
- Turn off the ignition and all electrical consumers and remove the ignition key.
The External Audio Source Connection -R199- is clipped into the center console storage compartment.
- Remove the center console storage compartment. Refer to → Body Interior; Rep. Gr.68; Center Console; Front Center Console Storage Compartment, Removing and Installing.

- Press the tabs -arrows- on the External Audio Source Connection -R199--1- and remove the External Audio Source Connection -R199--1- from the storage compartment.
Installing
- Install in reverse order of removal.

External Audio Source Connection 2 -R321-, Removing and Installing
The External Audio Source Connection 2 -R321--1- is located in the rear center armrest storage compartment.
The External Audio Source Connection 2 -R321- is connected directly to the Information Electronics Control Module 2 -J829-.
Various external audio sources can be connected to the External Audio Source Connection 2 -R321-:
Suitable adapter cables are needed. Refer to the Owner's Manual.
Fault finding is performed via "Guided Fault Finding" on the Vehicle Diagnostic Tester.
- Turn off the ignition and all electrical consumers and remove the ignition key.

Removing
The External Audio Source Connection 2 -R321--2- is installed from behind in the rear center armrest storage compartment -1-.
- Remove the rear center armrest. Refer to → Body Interior; Rep. Gr.72; Rear Seats; Center Armrest, Removing and Installing.

- Remove the External Audio Source Connection 2 -R321--2- from the center console-1-.
Installing
- Install in reverse order of removal.

Rear Seat Entertainment System (RSE)
Infrared System
Seat Bench/Single Seat, Removing and Installing
Overview - Seat Pan, Seat Angle Adjuster