Special tools and workshop equipment required
Note
It must only be converted once. It is not necessary to convert back again.
- Remove the tensioning system nuts -arrows- (quantity: six).
- Remove the plate and remove the rods from the tensioning system.

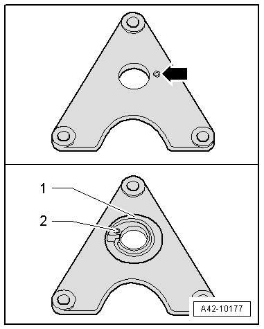
- Remove the bolt -arrow- and the previous spring plate -1- with the hole -2- without the counter bore.

- Insert the new plate with the threaded holes from the supplementary set so the markings "R" and "L" are horizontal to the plate.

- Tighten the new plate with the new bolt -arrow- from the supplementary set. Do not rotate the plate.
- Insert the new spring plate -1- with the hole -3- with the counter bore from the supplementary set.
- Insert the new spring plate -1- so the stop -2- aligns with the marking "L".
- Tighten the new spring plate -1- with the new bolt from the supplementary set.
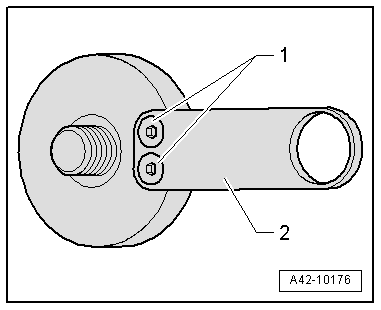
- Remove the spring plate at the hydraulic cylinder.

- Remove the tab -2- and replace with the new tab from the supplementary set.
- Tighten the new tab -2- with the new bolts -1- from the supplementary set.
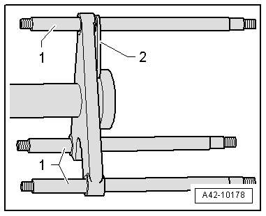
- Install the spring plate lightly as far as the stop on the tensioning system and then rotate it back again slightly.

- Insert the new rods with the long taper -1- in the tensioning system plate.
- Insert the upper rod in the tab -2-.
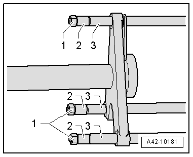
- Position the plate on the rods.

- Install the sleeves -2 and 3- from the supplementary seat and install the nuts -1- lightly.

- Position the tensioning system on a level surface and tighten the nuts -arrows-.

Shock Absorber, Removing and Installing
Spring, Removing and Installing
Overview - Wheel Bearing
Overview - A-Pillar Trim Panel
Refrigerant Circuit Pressures Specified Values, Vehicles with Heat Pump